为推动高质量创新发展、打造核能新质生产力,由中国能源研究会、中国广核集团有限公司联合中核集团、国家电投、中国华能、中国大唐、国家能源集团共同主办的2024第三届中国核能高质量发展大会暨深圳国际核能产业创新博览会(以下简称深圳核博会),将于11月11-13日,在深圳会展中心(福田)隆重召开。

本届深圳核博会将延续往届高标准、大规模、高规格特点,持续打造世界一流核展,展出面积60,000平方米,海内外参展商超600家,覆盖全球最前沿的核科技创新成果以及完整的核电产业链。大会同期还将举办近20场产业、应用、国际及学术论坛,涵盖先进装备与产业链、先进建造、在役检查、智慧运维、冷源安全、先进核材料、环保技术、数字化、安全生产绩效、核技术、先进核能等领域,汇聚万余位行业同仁,共商核能高质量发展大计,共绘核电可持续发展蓝图,为中国乃至世界核电产业的高质量发展汇聚行业智慧。
作为本届深圳核博会重要展商,河北骞海鼓风机有限公司将携带一系列高新产品和应用方案震撼亮相。展位位于2号馆N15号展位,欢迎莅临交流。
公司简介
河北骞海鼓风机有限公司始建于2010年,注册资金1亿元人民币。位于河北省张家口市宣化开发区宣府大街196号。公司占地110800平方米,建筑面积63000平方米,生产面积5万平方米。
现有在职职工212人,其中高级工程师7人、工程师10人、民用核安全设备焊接人员9人,特种设备焊接人员22人,民用核安全设备无损检验人员7人,特种设备无损检验检测人员12人。
公司主要从事核级风机、金属包装运输容器(核化工)、压力容器、核化工后处理非标设备设计及制造,目前已取得民用核安全设备设计及制造许可证(风机)、压力容器制造许可证、辐射安全许可证,是中核集团合格供应商、中国核电工程有限公司4A供应商、中核四川环保工程有限责任公司优秀供应商。
公司通过了ISO9001质量管理体系认证、ISO14001环境管理体系认证、ISO45001:2018职业健康安全管理体系认证,及GJB9001C武器装备质量管理体系认证。
公司为专精特新小巨人企业、高新技术企业、河北省风机装备研发中心,中国通用机械工业协会风机分会理事单位及重点联系企业,中国核安全与环境文化促进会第三届理事会会员单位,并荣获全国重合同守信用AAA品牌企业、全国最具影响力百强诚信企业、优秀民营企业等荣誉称号。
公司主营产品与技术特点
(1)核级工艺风机
【设备分级】:安全分级:放化安全级(RS) 抗震类别:I类(1A) 质保等级:QA2
【产品型号】:GYFJ №7.7
【气动性能】:风量:1300m3/h;全压:48000Pa;介质密度:=0.675kg/m3
【设计寿命】:风机非易损部件设计寿期不小于20年,风机在正常工况和设计基准事故工况下均能连续运行时间不小于12个月(每天24小时)。
【耐辐照】:所有非金属部件确保在累计放射性剂量1104Gy条件下仍能保证其功能。
【材料】:接触介质部件采用特种不锈钢材质,在常规不锈钢中增加Ti成分,提高抗腐蚀性能。
【其他】:叶轮和蜗壳内腔进行特殊气动和流线型流道设计,整体采用五轴数控加工中心加工而成,叶轮和蜗壳装配间隙达到毫米级别。
【系统功能】:核级工艺风机的主要功能是为工艺尾气处理系统提供一定的负压,使整个系统维持一定的负压状态,限制放射性气体从设备或者管道等部件泄漏到设备室内。
【安全功能】:核级工艺风机的安全功能是为相应系统提供负压,保证系统内放射性物质的包容,要求风机在正常工况和设计基准事故工况下均能长期有效运行。
【鉴定及应用】:GYFJ №7.7核级工艺尾气风机于2023年4月在地震工程国际合作联合实验室上海同济大学鉴定通过,获得第十一届国际流体机械展金奖。
(2)弃桨桶内搅拌专用桶
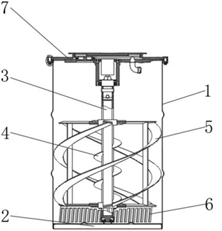
主要用于中低放射性粉灰状物料的水泥固化处置。具有操作简便、使用场地灵活、操作过程中安全易防护等优点。
本产品属于混凝土生产技术领域,是将中低放射性粉灰状物料通过加料口加入搅拌桶,再加入混凝土及添加剂,搅拌均匀后连带搅拌装置一起凝固,从而避免放射源外泄的污染情况发生。主要零部件包括:桨桶(序号1);桶底(序号2);传动杆(序号3);内螺旋桨叶(序号4);外螺旋桨叶(序号5);梳齿板(序号6);桶盖(序号7)。本产品通过在桨桶上加设内螺旋桨叶、外螺旋桨叶与梳齿板等结构,在转动时可以通过内螺旋桨叶对原料进行顺时针搅动,外螺旋桨叶可以对原料进行逆时针搅动,在两个桨叶进行双向搅动的过程中可以使得原料混合更加均匀,并且可以通过梳齿板防止原料沉底。搅拌完成后使其自然凝固,按核废料后处理程序统一管理。
实用新型专利产品名称:一种弃桨桶内搅拌专用桶,专利号202121515963 .7。

公司荣誉
2023深圳核博会现场
11月11日-13日,第三届中国核能高质量发展大会暨深圳国际核能产业创新博览会核您相约,共聚鹏城!河北骞海鼓风机有限公司将欢迎各位届时莅临展位咨询洽谈。
大会组委会电话:
010-67808008/010-68808008






